来源:财通社
“华为旗下中蓝电子爆雷”,12月26日,一条来自台媒的消息迅速传播。
消息称大陆镜头厂惊传爆雷,受当地产业内卷严重冲击,“部分规格镜头一颗比一瓶矿泉水还便宜”,业界传出,连华为集团旗下企业也撑不住,停止供应OPPO、vivo等手机品牌镜头。
该华为集团企业,就是三年前在业界引起轰动的中蓝电子,它成功收购了原iPhone镜头供应商康达智的大陆连云港厂。当时大陆镜头巨头舜宇(02382.HK)、瑞声科技(AAC)以及台厂玉晶光都有意收购,最终中蓝电子以黑马姿态胜出。
彼时该笔交易的总价款为71.7亿日元(约合人民币4.2亿元),中蓝电子副总裁陈军表示,通过收购,公司将解决镜头专利“卡脖子”问题,打开高端手机后置镜头制造技术的“壁垒”,提高中蓝电子科技创新能力,推动盘锦光学电子产业基地产能的进一步释放。
收购完成后,康达智退出iPhone供应链,舜宇取而代之,中蓝电子也因此次并购在业界声名鹊起。然而,近年来受疫情、美中贸易战等不利因素影响,终端消费市场需求疲软,手机行业首当其冲。中蓝电子当年的辉煌迅速褪色,状况甚至急剧恶化。
截至发稿时,财通社未能获得中蓝电子的回应。
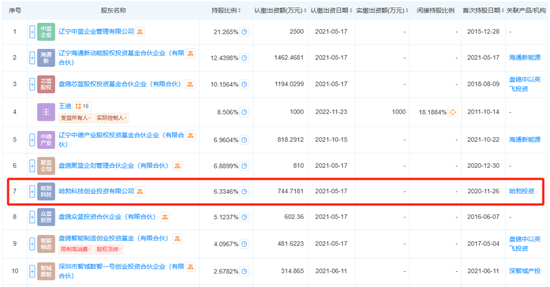
中蓝电子,全称是辽宁中蓝电子科技有限公司,成立于2011年10月,2021年完成C轮融资,注册资本1.18亿元,法定代表人王迪。公司主要业务包括手机摄像头核心部件的研发和生产,如对焦马达和光学镜头,客户涵盖华为、小米、荣耀、OPPO等国内知名手机品牌。
2020年11月,有媒体报道,华为旗下哈勃科技投资了中蓝电子。2021年,中蓝电子完成C轮融资,哈勃科技创业投资有限公司成为中蓝电子第七大股东,认缴出资额744.72万元,持股比例6.33%。

实际上,除了华为外,中蓝电子的股东阵容还包括小米、荣耀等产业客户资本,舜宇等行业巨头,海通、元禾璞华、华山资本等多家投资机构,堪称豪华。
2023年7月,中蓝电子被《人民日报》头版头条点名,充分肯定了公司在科技创新、产业发展中的突出贡献,当时这篇报道透露公司通过12年潜心发展,已成为国家专精特新“小巨人”企业,拥有近1500项专利。2024年6月,辽宁日报又转载人民日报的文章,介绍中蓝电子是盘锦的“隐形冠军”企业。

中蓝电子的快速崛起有目共睹,但是行业的竞争也是异常残酷。
宇博智业产业研究院发布的2023年手机摄像头十大品牌排行榜显示,中蓝电子排行业第七,在它前面的是舜宇、大立光等行业巨头。

市场分析人士指出,2021年大立光通过专利战,与荣耀、OPPO、vivo、小米等签订了长期供货合约(LTA),获得了高阶7P(七片塑胶镜片)、8P镜头的全部订单,以及6P镜头五成的市场份额,有效制约了舜宇、瑞声等大陆镜头厂,稳固了其在高阶手机镜头领域的龙头地位,也确保了大立光在中国镜头市场的价格和供货量,从而掌控利润。
然而,5P以下的中低阶手机市场仍面临竞争压力,部分镜头厂为了维持工厂运转率,不惜杀价抢单,导致做得越多,亏得越多。
此次中蓝电子因不堪亏损,停止供应镜头,陆续释放出前置镜头、3P/4P、FOD镜头、物联网镜头等订单,OPPO、vivo等品牌紧急寻求台湾镜头厂的支持以解燃眉之急。
面对行业内卷,不只是中蓝电子日子难过,就连上市公司欧菲光(002456.SZ)也连续两年巨额亏损,上半年才有些好转迹象。目前,中蓝电子未对外公布财务情况,但今年9月以来,公司作为被告的合同纠纷案件明显增多,此前还有公司员工曝出拖欠薪资。
作为一家东北的稀缺科技明星,希望中蓝电子在这轮行业危机中挺过去。
责任编辑:杨红卜