来源:无冕财经

////
对于君乐宝而言,2025年是至关重要的一年。
早在2022年,君乐宝就定下雄心勃勃的目标:2025年力争销售额达到500亿元;同时,争取在2025年完成上市。
自从脱离蒙牛以后,君乐宝便开始为上市做准备。过去六年,它一边引入大批投资机构,一边大肆收并购,扩大规模。
然而,2025年仅剩7个月,这家曾被资本寄予厚望的区域乳企,仍处于辅导期,而它是否能上市,仍然是个未知数。
蓄谋已久的上市,到了冲刺阶段
君乐宝一直有个“上市梦”。
据公开报道,早在2008年,君乐宝就打算上市了,结果“三聚氰胺事件”爆发,君乐宝的上市梦破碎。此后,君乐宝“卖身”蒙牛(02139.HK),再也没有提及上市的事情。
直到2016年,河北省领导曾公开表示希望推动君乐宝从蒙牛体系中剥离,谋求独立上市。彼时,君乐宝还是蒙牛的子公司。
2019年,君乐宝以当年收购价格的九倍赎回股权,脱离蒙牛。这一年,君乐宝的营收达到了163亿。当时便有人推测,此番操作是为上市做准备。
脱离蒙牛后,君乐宝开始为上市铺路,首先便是引入投资机构。
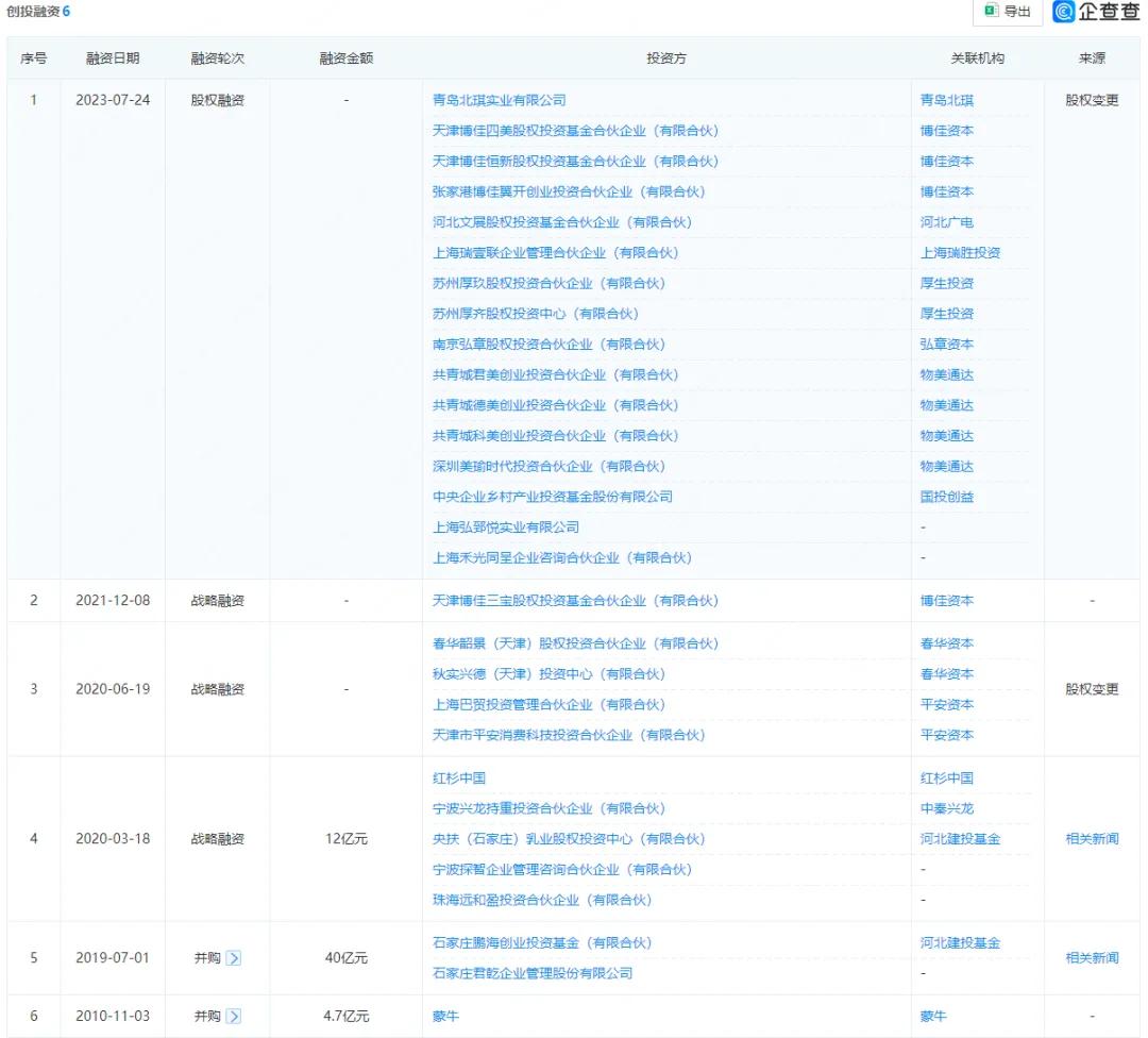
企查查显示,2019年,鹏海基金、君干管理分别斥资21亿元、19.11亿元收购君乐宝约26.70%、24.30%股权。
2020年至2021年,君乐宝进行了3轮融资。2020年3月,君乐宝完成12亿元的战略融资,投资方为红杉资本中国、中秦兴龙、河北建投基金。同年6月,它还获得了平安资本和春华资本的投资。2021年12月,它又获得了博佳资本的投资。
▲君乐宝融资情况,图片来自企查查君乐宝的最后一轮融资发生在2023年7月,涉及十多家投资方、八家关联结构,包括博佳资本、河北广电、上海瑞胜投资、厚生投资、弘章资本等。每一次融资,都让人觉得君乐宝距离敲钟近了一步。
业内人士分析,君乐宝引入这类投资机构,其目的也是获得资本市场上的一些资源,为上市提前布局。
引入足够多投资机构后,君乐宝的第二步便是股份制改造。2023年12月,君乐宝企业名称由“君乐宝乳业集团”变更为“君乐宝乳业集团股份有限公司”,企业类型变更为其他股份有限公司(非上市),同时注册资本由此前的6221.6万元增至7.2亿元。
紧接着在2023年12月28日,河北证监局网站便披露了中金公司《关于君乐宝乳业集团股份有限公司首次公开发行股票并上市辅导备案报告》,正式宣告着君乐宝启动A股IPO计划。
随后,2023年12月28日,河北证监局网站也披露了中金公司《关于君乐宝乳业集团股份有限公司首次公开发行股票并上市辅导备案报告》,正式宣告着君乐宝启动A股IPO计划。
有媒体对A股IPO排队企业的辅导期时长做过统计:主板IPO辅导时长平均273天(约9个月),从辅导备案日到受理日(辅导验收完成,证监会受理上市申请)则需304天;创业板IPO辅导时长平均275天(约9个月),从辅导备案日到受理日需要300天;科创板IPO辅导时长259天(约8.6个月),从辅导备案日到受理日需要291天。
截至发稿,君乐宝的辅导期已经长达512天,它的IPO辅导期已经拖了一年。进入2025年后,君乐宝的上市动作有加速迹象。
今年1月,君乐宝发布了第四期《关于君乐宝乳业集团股份有限公司首次公开发行股票并上市辅导工作进展报告》,报告提及了目前存在的主要问题,主要为部分募投项目需要根据公司实际经营情况进行调整并更新备案环评手续等。
今年3月,君乐宝出现多位高管变动,其中,郭景峰卸任监事会主席,董事黄亚芳,监事姜树旺、冯丹悉数退出。时隔一年余,陈烁再次出任公司董事。外界普遍认为,此次人事调整或与优化公司治理结构、满足上市合规性要求有关。
2025年只剩下7个月了,留给君乐宝的时间,确实不多了。
资本动作频频,IPO前使劲拉高估值
按照君乐宝的目标,上市之前,要达到500亿的营收。
根据此前河北省政府新闻报道,2021年君乐宝销售额达203亿元。也就是说,君乐宝要在4年的时间内,营收翻一倍多,这绝非易事。
脱离蒙牛后,君乐宝失去蒙牛的技术、渠道与奶源等资源支持,于是它便通过收并购来拓展其商业版图,同时也能拉高估值。
当年脱离蒙牛的时候,君乐宝的估值并不高。2019年7月,蒙牛以40.11亿元的价格,清仓了所持君乐宝的股权。折算下来,君乐宝的估值还不到80亿元。和同行相比,这个估值水平有点低了。
2021年君乐宝战略投资了奶酪产品供应商思克奇;2022年1月君乐宝又收购了云南皇氏来思尔乳业有限公司、云南皇氏来思尔智能化乳业有限公司各20%的股权;2022年9月,君乐宝收购了银桥乳业。
值得注意的是,2022年7月,君乐宝喊出2025年上市、500亿元营收的目标后,便加速了收购频率。
整个2023年,君乐宝的投资和收购动作更加频繁:1月,君乐宝与中国劲酒联手投资了奶酪初创公司酪神世家;6月,君乐宝再次收购来思尔智能化和来思尔乳业各32.8996%的股份,自此君乐宝分别持有两家公司57.8996%的股权,成为他们的控股股东;7月,君乐宝收购了乳制品厂商银桥科技;11月,投资了酸奶品牌茉酸奶;12月,君乐宝投资了益生菌乳酸菌研发商一然生物。
通过收并购,君乐宝的业务版图也在加速向外扩张,包括向大本营华北地区以外的市场,同时,它也实现了多点、多业务布局,向奶粉、酸奶及鲜牛奶以外的品类扩张,比如奶酪、现制酸奶、益生菌等。
业内人士认为,对于君乐宝而言,扩大规模是其IPO之路上亟待解决的问题。在中国乳业市场,企业规模越大、成本控制能力越强,产业链也越完备,自然就有更多的话语权。比如伊利、蒙牛、光明,它们具备一定的市场话语权,相比之下,君乐宝还有一定差距。
不过,通过收并购扩大规模,也有一定的风险。乳业分析师宋亮表示,持续通过并购方式增长,对企业的长期发展来说风险较大,比如君乐宝收购的这些企业能否融入它的整个生产体系中。
另外,当前乳制品行业依然处于弱复苏状态,连蒙牛和伊利这样的巨头都面临增长挑战,中小乳企的处境就更难了。在这种情况下,君乐宝收购的企业是否会拖后腿,也是个问题。
由于尚未披露招股书,目前君乐宝的增长情况还只能打一个问号。
多重诉求推动,IPO如箭在弦
君乐宝IPO,既是企业发展的必经阶段,同时也是多重诉求交织下的必然选择。
首先是此前的“激进”的扩张,已经影响到君乐宝的财务健康,特别是债务问题。
这一点,在与君乐宝有过股权交易的皇氏集团的公告里,能看到一些端倪。截至2020年底,君乐宝资产总额为134.56亿元,负债总额为118.69亿元,负债率达88.21%。
到了2022年底,君乐宝未经审计的财务数据为资产总额约210.89亿元,净资产约47.17亿元,负债率仍高达约78%。同一年,行业内18家上市乳企平均资产负债率仅为45.06%,其中蒙牛乳业资产负债率为57.52%,伊利股份(600887.SH)为58.66%,中国飞鹤(06186.HK)为28.27%。
令人担忧的是,在经过2023年的一系列资本扩张后,君乐宝资产负债率是否会再次拉高。在业内人士看来,如此高的负债率,君乐宝若不能成功上市募资,其财务状况很可能会恶化。
其次,君乐宝还面临着背后投资机构的退出压力。
自2019年蒙牛退出后,君乐宝通过至少7轮融资引入红杉中国、高瓴资本、平安创投、春华资本等16家机构。这些机构投资周期已超过5年(如红杉中国2020年入股),而私募股权基金通常有5-7年退出期限限制,上市成为其退出的核心路径。
▲君乐宝前十大股东中大部分是投资机构,图片来自企查查
若君乐宝无法按计划完成IPO,机构可能面临资金回笼压力,甚至可能通过其他方式折价退出。
此外,地方政府也一直希望君乐宝能够早日上市。
作为中国少有的奶业大省,河北迄今尚无一家上市乳企,尤其是三鹿事件后,河北需要一家企业站出来扛起河北乳业复兴的大旗,从各方面看,作为河北最大乳企的君乐宝都是最合适的对象。
所以,地方政府也一直在暗中发力,推动君乐宝上市。在君乐宝尚未脱离蒙牛阵营的2019年4月,河北省奶业振兴工作领导小组便发布的《2019年河北省奶业振兴工作方案》多次提及君乐宝乳业,表示要培育乳品加工领军企业,做大做强龙头企业,支持君乐宝乳业集团主板上市,拓展融资渠道。
河北省政府可不仅仅是口头支持,2019年,石家庄鹏海创业基金(简称鹏海基金)从蒙牛手中收购了26.7%的股权,鹏海基金背后是河北省国资委。
后来加入的石家庄鹏皓创业投资基金(持股3.18%),背后股东是中央企业贫困地区产业投资基金以及河北建投创发基金。
远超行业平均水平的负债水平,叠加投资机构退出周期逼近,通过IPO缓解资金链压力成为必然选择。与此同时,河北省政府通过国有资本介入和产业政策引导,将区域奶业振兴目标与企业发展深度绑定,进一步强化了上市必要性。
在多重诉求推动下,君乐宝的IPO之路已进入不可逆阶段。

▶本文转载自公众号“镁经”(ID:mgjing001),原标题为《君乐宝宣称的IPO时间,只剩7个月了》,原文发布于2025年5月24日。无冕财经已获得转载授权,并稍作编辑。
特别声明:以上内容仅代表作者本人的观点或立场,不代表新浪财经头条的观点或立场。如因作品内容、版权或其他问题需要与新浪财经头条联系的,请于上述内容发布后的30天内进行。